VFQ系列電動調節閥-球墨鑄鐵-PN16/PN25-220℃
二通法蘭閥PN16/PN25 VFQ61…三通法蘭閥PN16/PN25 VFQ62…屬于長行程單座閥
用途
用于鍋爐、區域供熱和制冷設備、冷卻塔、加熱機組和空調機組中作為控制閥門。適用于閉式或開式管路系統(注意避免氣蝕)
技術參數(兩通電動調節閥VQF61…)
| 公稱直徑 | DN | 15 | 20 | 25 | 32 | 40 | 50 | 65 | 80 | 100 | 125 | 150 | 200 | 250 | 300 | 350 | 400 | |
| 型號VQF61. | 15 | 20 | 25 | 32 | 40 | 50 | 65 | 80 | 100 | 125 | 150 | 200 | 250 | 300 | 350 | 400 | ||
| Kvs值 | m3/h | 1/1.6/2.5/4 | 5 | 7.5 | 10 | 12 | 31 | 49 | 78 | 124 | 200 | 300 | 450 | 630 | 1200 | 1700 | 1900 | |
| 行程 | mm | 20 | 20/40 | 40 | 40~100 | |||||||||||||
| 最大關閉壓差 | ||||||||||||||||||
| 泄漏率 | 0~0.02%Kvs | |||||||||||||||||
| 介質 | 水、蒸汽、熱導油... | |||||||||||||||||
| 介質PH值 | 最小7,最大10 | |||||||||||||||||
| 介質溫度 | -20~220℃ | |||||||||||||||||
| 公稱壓力 | PN16/PN25 | |||||||||||||||||
| 連接 | 法蘭連接 | |||||||||||||||||
| 材料 | ||||||||||||||||||
| 閥體 | 球墨鑄鐵EN-GJS-400-18(GGG40) | |||||||||||||||||
| 閥桿 | 非磁性不銹鋼(304) | |||||||||||||||||
| 閥芯 | 非磁性不銹鋼(304) | |||||||||||||||||
| 密封 | PTFE+碳纖維 | |||||||||||||||||
技術參數(三通閥VQF62…)
| 公稱直徑 | DN | 15 | 20 | 25 | 32 | 40 | 50 | 65 | 80 | 100 | 125 | 150 | 200 | 250 | 300 | 350 | 400 | |
| 型號VQF62. | 15 | 20 | 25 | 32 | 40 | 50 | 65 | 80 | 100 | 125 | 150 | 200 | 250 | 300 | 350 | 400 | ||
| Kvs值 | m3/h | 4 | 5 | 7.5 | 10 | 12 | 31 | 49 | 78 | 124 | 200 | 300 | 450 | 630 | 1200 | 1700 | 1900 | |
| 行程 | mm | 20 | 20/40 | 40 | 40~100 | |||||||||||||
| 最大關閉壓差 | ||||||||||||||||||
| 泄漏率 | 0~0.02%Kvs | |||||||||||||||||
| 介質 | 水、蒸汽、熱導油... | |||||||||||||||||
| 介質PH值 | 最小7,最大10 | |||||||||||||||||
| 介質溫度 | -20~220℃ | |||||||||||||||||
| 公稱壓力 | PN16 | |||||||||||||||||
| 連接 | PN16法蘭連接/PN25法蘭連接 | |||||||||||||||||
| 材料 | ||||||||||||||||||
| 閥體 | 球墨鑄鐵EN-GJS-400-18(GGG40) | |||||||||||||||||
| 閥桿 | 非磁性不銹鋼(304) | |||||||||||||||||
| 閥芯 | 非磁性不銹鋼(304) | |||||||||||||||||
| 密封 | PTFE+碳纖維 | |||||||||||||||||
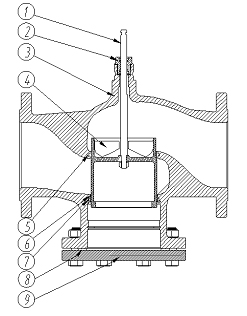
閥門結構設計
|
兩通閥
|
|
三通閥
|
注意事項
安裝位置
閥門宜安裝在回程管道上, 這里的溫度較低且密封函負荷也較低.
閥前過濾
在閥門前安裝過濾器或污物收集器以確保閥門調節功能, 和長時間的使用壽命. 從閥門和管道中處除污物, 焊渣, 等等.
氣濁
根據介質溫度與壓力關系限制閥門前后的壓差就能避免氣蝕.
流向
調試
只有在閥門和執行器正確組裝完畢后才可以調試閥門.
在所有安裝方位上確保執行器的推桿和閥門的閥桿可靠的連接.
開/閉檢查
| 閥門 | 直通A→AB | 旁通B→AB |
| 閥桿伸出 | 關閉 | 打開 |
| 閥桿縮進 | 打開 | 關閉 |
維護
閥門無需維護.在進行閥門或執行器維修前:-
停止水泵并切斷電源
-
關閉截止閥
-
釋放管道系統中的壓力并等待管道完全冷卻
保證
閥門的技術參數僅適用于閥門與我公司指定的電動執行器配套使用的情況.當使用其它制造商的執行器時, 我公司所保證的條款都將失效.閥門尺寸
| 型號 | C | ΦD | ΦD1 | n*Φd | f | L | H | H1 | H2 | |||
| PN16 | PN25 | PN16 | PN25 | PN16 | PN25 | |||||||
| DN15 | 14 | 95 | 95 | 65 | 65 | 4*Φ14 | 4*Φ14 | 2 | 130 | 157 | 87 | 63 |
| DN20 | 14 | 105 | 105 | 75 | 75 | 4*Φ14 | 4*Φ14 | 2 | 140 | 161 | 92 | 68 |
| DN25 | 14 | 115 | 115 | 85 | 85 | 4*Φ14 | 4*Φ14 | 2 | 165 | 161 | 100 | 76 |
| DN32 | 18 | 140 | 140 | 100 | 100 | 4*Φ18 | 4*Φ18 | 3 | 180 | 165 | 114 | 88 |
| DN40 | 18 | 150 | 150 | 110 | 110 | 4*Φ18 | 4*Φ18 | 3 | 200 | 160 | 120 | 94 |
| DN50 | 20 | 165 | 165 | 125 | 125 | 4*Φ18 | 4*Φ18 | 3 | 230 | 190 | 137 | 107 |
| DN65 | 20 | 185 | 185 | 145 | 145 | 4*Φ18 | 8*Φ18 | 3 | 290 | 209 | 150 | 120 |
| DN80 | 20 | 200 | 200 | 160 | 160 | 8*Φ18 | 8*Φ18 | 3 | 310 | 206 | 177 | 147 |
| DN100 | 22 | 220 | 235 | 180 | 190 | 8*Φ18 | 8*Φ22 | 3 | 350 | 229 | 185 | 153 |
| DN125 | 22 | 250 | 270 | 210 | 220 | 8*Φ18 | 8*Φ26 | 3 | 400 | 268 | 207 | 174 |
| DN150 | 24 | 285 | 300 | 240 | 250 | 8*Φ22 | 8*Φ26 | 3 | 480 | 292 | 251 | 215 |
| DN200 | 24 | 340 | 360 | 295 | 310 | 12*Φ22 | 12*Φ26 | 3 | 495 | 301 | 240 | 204 |
| DN250 | 26 | 405 | 425 | 355 | 370 | 12*Φ26 | 12*Φ30 | 3 | 622 | 358 | 268 | 230 |
| DN300 | 28 | 485 | 485 | 410 | 430 | 12*Φ26 | 16*Φ30 | 3 | 698 | 383 | 350 | 300 |
| DN350 | 32 | 555 | 555 | 470 | 490 | 16*Φ26 | 16*Φ33 | 3 | 787 | |||
| DN400 | 34 | 620 | 620 | 525 | 550 | 16*Φ30 | 16*Φ36 | 3 | 914 | |||
![]() |
![]() |
![]() |
![]() |
|
DN40閥體,配SAX執行器
|
DN65閥體,配SBV執行器 |
DN32閥體,配SKD執行器 |
DN40三通,配SKD執行器 |
![]() |
![]() |
![]() |
![]() |
|
DN100,配SKD執行器
|
DN100,配SKD執行器 |
DN125配SKC執行器 |
DN200配SKC執行器 |















